Thursday February 2026

হটলাইন

সেবা এবং ধাপ

নং শিরোনাম সেবার ধাপ কার্যকলাপ
  
কৃষি বিষয়ক সেবার তালিকা দেখুন
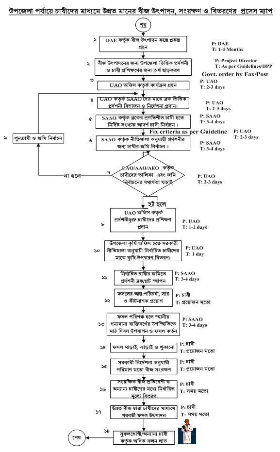
চাষী পর্যায়ে উন্নতমানের বীজ উৎপাদন,সংরক্ষণ এবং বিতরণের প্রসেস ম্যাপ দেখুন
উপজেলা পর্যায়ে সমন্বিত ফসল ও বালাই ব্যবস্থাপনার প্রসেস ম্যাপ দেখুন
উপজেলা পর্যায়ে কৃষি প্রযুক্তি সংক্রান্ত প্রশিক্ষনের প্রসেস ম্যাপ দেখুন
ফসলের জাত সম্প্রসারণের প্রসেস ম্যাপ দেখুন
উপজেলা পর্যায়ে মাটির স্বাস্থ্য ব্যবস্থাপনা কার্যক্রমের পসেস ম্যাপ দেখুন
উপজেলা পর্যায়ে কৃষি উপকরণ সহায়তা(ভর্তূকি) বিতরণের প্রসেস ম্যাপ দেখুন
উপজেলা পর্যায়ে সার ডিলার েনিয়েগের প্রসেস ম্যাপ । দেখুন
দেখছেন ১ থেকে ৮ পর্যন্ত, মোট ৮ এন্ট্রি

এক্সেসিবিলিটি

স্ক্রিন রিডার ডাউনলোড করুন